- 2025雪峰祭秋
- 特價商品區
- 2025雪峰祭春
- Snowpeak
- Tiitent
- HALLEY哈雷
- KZM
- Coody
- URBANSIDE
- CARGO
- PRO KAMPING領航家
- UNIFLAME
- Barebones
- CAPTAIN STAG
- ADAMOUTDOOR
- EcoFlow
- DOMETIC
- OutdoorBase
- 日月鉄工所
- PAMABE OUTDOOR
- VAPALUX
- Thule
- ADISI
- THE EARTH
- Rob Snow
- Petromax
- BARRACK09
- Feuerhand
- MORAKNIV
- Redverz
- LUYING
- LED LENSER
- SANSUI山水
- MYCOOLMAN
- KOMPERDELL
- HILLEBERG
- FIAMMA
- iO
- CLAYMORE
- 其他品牌
- 出租商品
-
商品資訊
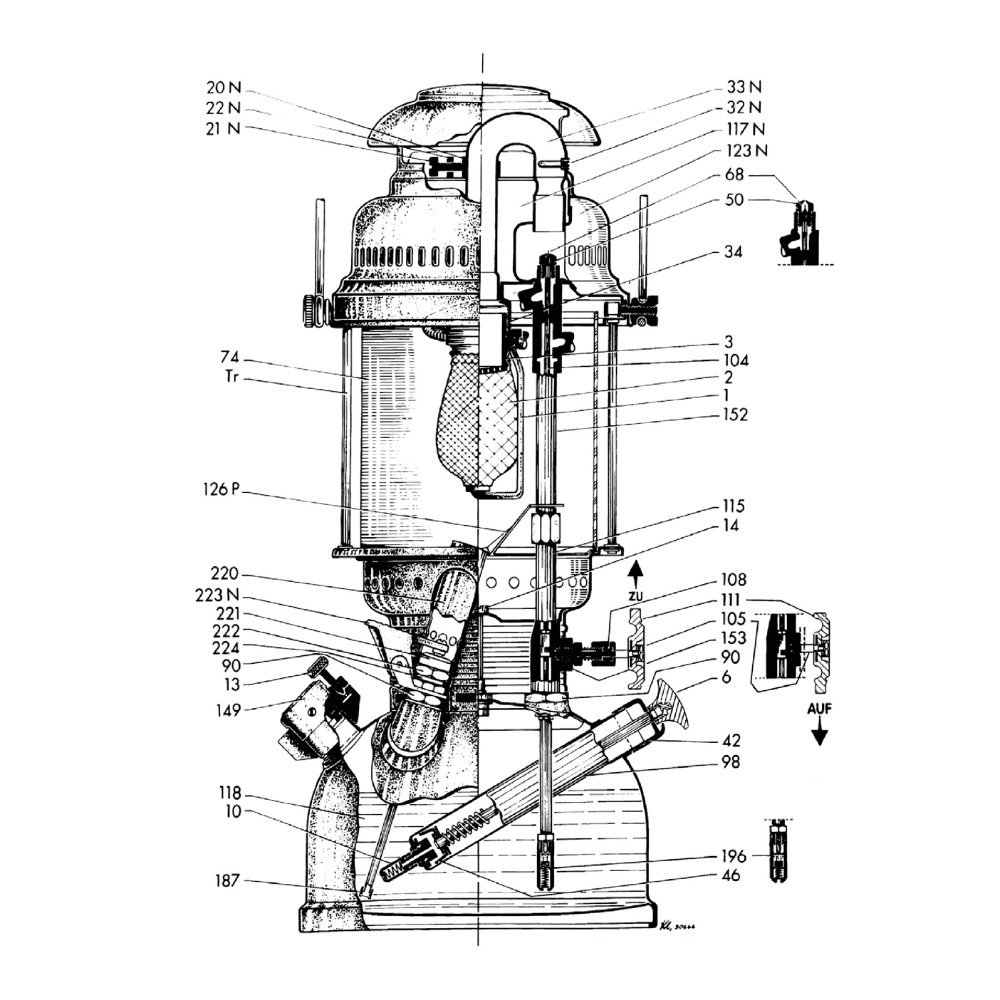
Petromax 零件 #152-500 Vaporize Upper Part 上油管 (適用HK350/500)德國 Petromax 煤油汽化燈零件,適用 HK500。#152-500 Vaporize Upper Part HK500 上油管。重量 85 g尺寸 2,1 x 1,5 x 17 cm材質 黃銅 -
商品Q&A


